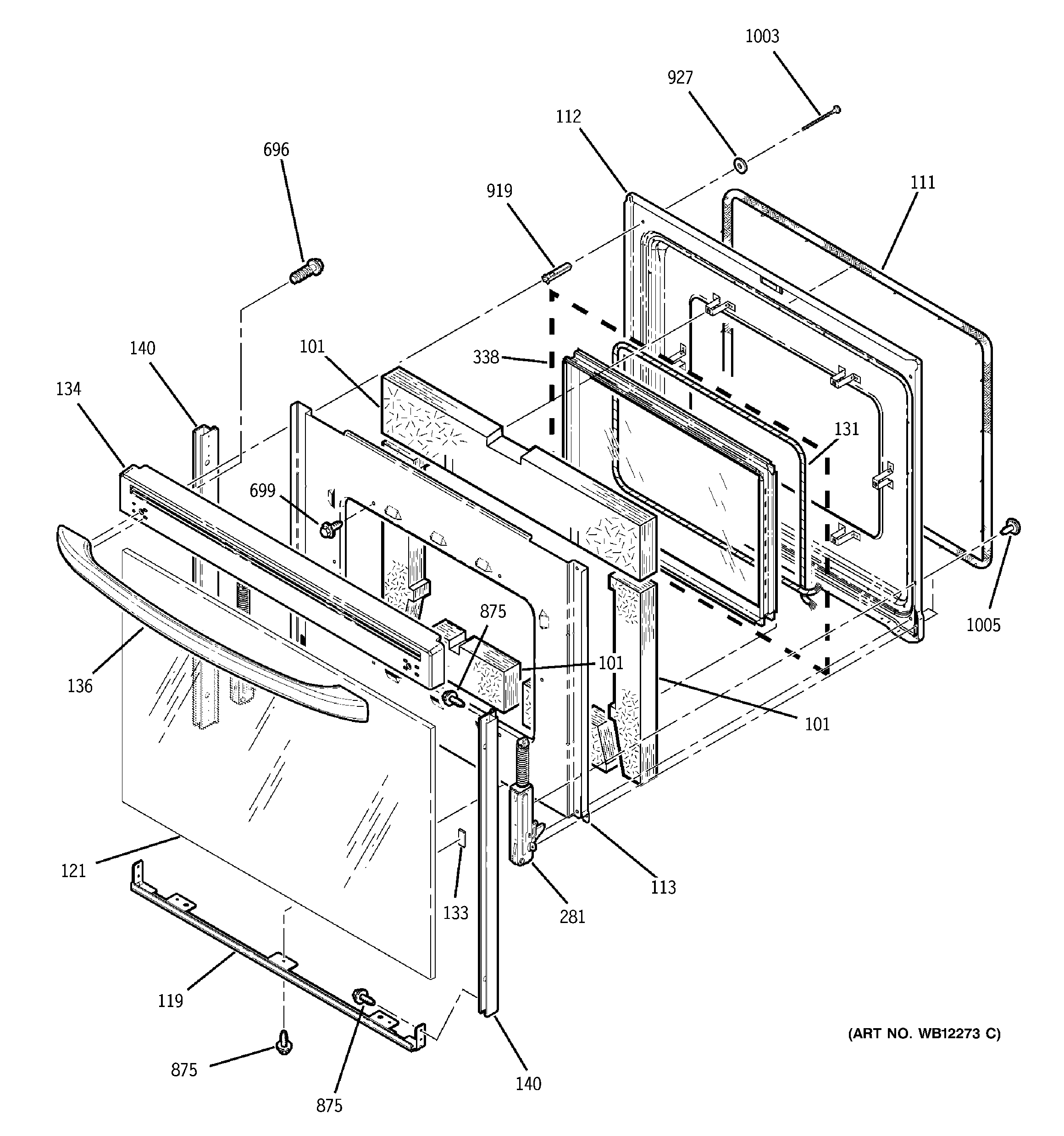
How To Take Out Ge Oven Door . There might come a time when you need to remove your ge oven door, whether for cleaning, repair, or even moving. Web reinstalling the oven door: Find out how to clean the door panes and hinges, and what. Web learn how to fix or replace the ge oven door by following the steps to remove it from the hinges and frame. Once your oven door is removed, follow these steps to reinstall it: The oven door on most wall ovens and ranges is removable for installation, cleaning or. Web learn how to remove the oven door on a ge appliances range. Web are you grappling with the challenge of removing your ge oven door for cleaning or repairs? Web how to quickly and easily remove and reinstall a modern ge oven door!
from exohwtwpx.blob.core.windows.net
Web are you grappling with the challenge of removing your ge oven door for cleaning or repairs? There might come a time when you need to remove your ge oven door, whether for cleaning, repair, or even moving. Web reinstalling the oven door: Web learn how to fix or replace the ge oven door by following the steps to remove it from the hinges and frame. Find out how to clean the door panes and hinges, and what. Web how to quickly and easily remove and reinstall a modern ge oven door! Web learn how to remove the oven door on a ge appliances range. Once your oven door is removed, follow these steps to reinstall it: The oven door on most wall ovens and ranges is removable for installation, cleaning or.
How To Take Off Oven Door Ge Profile at Jean Schoenfeld blog
How To Take Out Ge Oven Door The oven door on most wall ovens and ranges is removable for installation, cleaning or. Once your oven door is removed, follow these steps to reinstall it: The oven door on most wall ovens and ranges is removable for installation, cleaning or. Web reinstalling the oven door: Web learn how to remove the oven door on a ge appliances range. Find out how to clean the door panes and hinges, and what. Web how to quickly and easily remove and reinstall a modern ge oven door! There might come a time when you need to remove your ge oven door, whether for cleaning, repair, or even moving. Web are you grappling with the challenge of removing your ge oven door for cleaning or repairs? Web learn how to fix or replace the ge oven door by following the steps to remove it from the hinges and frame.
From www.justanswer.com
I have a GE oven and I need to know how to reassemble the door (don't How To Take Out Ge Oven Door Web reinstalling the oven door: Web how to quickly and easily remove and reinstall a modern ge oven door! Web are you grappling with the challenge of removing your ge oven door for cleaning or repairs? Web learn how to remove the oven door on a ge appliances range. There might come a time when you need to remove your. How To Take Out Ge Oven Door.
From kitchenseer.com
How To Remove A GE Oven Door [Step By Step Guide] Kitchen Seer How To Take Out Ge Oven Door There might come a time when you need to remove your ge oven door, whether for cleaning, repair, or even moving. Once your oven door is removed, follow these steps to reinstall it: The oven door on most wall ovens and ranges is removable for installation, cleaning or. Web learn how to fix or replace the ge oven door by. How To Take Out Ge Oven Door.
From www.youtube.com
How to remove the oven door YouTube How To Take Out Ge Oven Door Web learn how to remove the oven door on a ge appliances range. Web reinstalling the oven door: Web learn how to fix or replace the ge oven door by following the steps to remove it from the hinges and frame. Web are you grappling with the challenge of removing your ge oven door for cleaning or repairs? Find out. How To Take Out Ge Oven Door.
From exohwtwpx.blob.core.windows.net
How To Take Off Oven Door Ge Profile at Jean Schoenfeld blog How To Take Out Ge Oven Door Web learn how to remove the oven door on a ge appliances range. The oven door on most wall ovens and ranges is removable for installation, cleaning or. Web are you grappling with the challenge of removing your ge oven door for cleaning or repairs? There might come a time when you need to remove your ge oven door, whether. How To Take Out Ge Oven Door.
From geovenvosti.blogspot.com
Ge Oven How To Remove Ge Oven Door How To Take Out Ge Oven Door Web reinstalling the oven door: Web are you grappling with the challenge of removing your ge oven door for cleaning or repairs? Find out how to clean the door panes and hinges, and what. Web how to quickly and easily remove and reinstall a modern ge oven door! Web learn how to remove the oven door on a ge appliances. How To Take Out Ge Oven Door.
From ceqmozxm.blob.core.windows.net
How To Remove Oven Door From Ge Range at Mary Harrell blog How To Take Out Ge Oven Door Once your oven door is removed, follow these steps to reinstall it: Find out how to clean the door panes and hinges, and what. Web how to quickly and easily remove and reinstall a modern ge oven door! There might come a time when you need to remove your ge oven door, whether for cleaning, repair, or even moving. Web. How To Take Out Ge Oven Door.
From noodls.com
How To Take Oven Door Off Noodls How To Take Out Ge Oven Door Web are you grappling with the challenge of removing your ge oven door for cleaning or repairs? The oven door on most wall ovens and ranges is removable for installation, cleaning or. There might come a time when you need to remove your ge oven door, whether for cleaning, repair, or even moving. Find out how to clean the door. How To Take Out Ge Oven Door.
From exoamqdsb.blob.core.windows.net
How To Remove A Stove Oven Door at John McGregor blog How To Take Out Ge Oven Door Web how to quickly and easily remove and reinstall a modern ge oven door! Web learn how to remove the oven door on a ge appliances range. The oven door on most wall ovens and ranges is removable for installation, cleaning or. There might come a time when you need to remove your ge oven door, whether for cleaning, repair,. How To Take Out Ge Oven Door.
From dxohnkhfd.blob.core.windows.net
How To Remove Ge Electric Oven Door at Viola Jarvis blog How To Take Out Ge Oven Door The oven door on most wall ovens and ranges is removable for installation, cleaning or. Web learn how to remove the oven door on a ge appliances range. Web learn how to fix or replace the ge oven door by following the steps to remove it from the hinges and frame. Once your oven door is removed, follow these steps. How To Take Out Ge Oven Door.
From www.youtube.com
How To Remove and Reinstall Oven Door Easy YouTube How To Take Out Ge Oven Door The oven door on most wall ovens and ranges is removable for installation, cleaning or. Find out how to clean the door panes and hinges, and what. Web reinstalling the oven door: Web are you grappling with the challenge of removing your ge oven door for cleaning or repairs? Web how to quickly and easily remove and reinstall a modern. How To Take Out Ge Oven Door.
From ceqmozxm.blob.core.windows.net
How To Remove Oven Door From Ge Range at Mary Harrell blog How To Take Out Ge Oven Door Find out how to clean the door panes and hinges, and what. Web how to quickly and easily remove and reinstall a modern ge oven door! Web reinstalling the oven door: Web are you grappling with the challenge of removing your ge oven door for cleaning or repairs? There might come a time when you need to remove your ge. How To Take Out Ge Oven Door.
From www.youtube.com
Removing your oven door YouTube How To Take Out Ge Oven Door Web how to quickly and easily remove and reinstall a modern ge oven door! Once your oven door is removed, follow these steps to reinstall it: Web are you grappling with the challenge of removing your ge oven door for cleaning or repairs? There might come a time when you need to remove your ge oven door, whether for cleaning,. How To Take Out Ge Oven Door.
From www.youtube.com
How to Remove the Oven Door YouTube How To Take Out Ge Oven Door Web are you grappling with the challenge of removing your ge oven door for cleaning or repairs? Web learn how to fix or replace the ge oven door by following the steps to remove it from the hinges and frame. Web learn how to remove the oven door on a ge appliances range. Once your oven door is removed, follow. How To Take Out Ge Oven Door.
From www.youtube.com
EASY STOVE/OVEN DOOR REMOVAL YouTube How To Take Out Ge Oven Door Find out how to clean the door panes and hinges, and what. Web how to quickly and easily remove and reinstall a modern ge oven door! Web are you grappling with the challenge of removing your ge oven door for cleaning or repairs? The oven door on most wall ovens and ranges is removable for installation, cleaning or. Web learn. How To Take Out Ge Oven Door.
From www.youtube.com
How to take apart an Oven Door to clean the Glass YouTube How To Take Out Ge Oven Door Find out how to clean the door panes and hinges, and what. Web learn how to remove the oven door on a ge appliances range. Web learn how to fix or replace the ge oven door by following the steps to remove it from the hinges and frame. There might come a time when you need to remove your ge. How To Take Out Ge Oven Door.
From mccnsulting.web.fc2.com
How do you remove a GE oven door? How To Take Out Ge Oven Door The oven door on most wall ovens and ranges is removable for installation, cleaning or. Web how to quickly and easily remove and reinstall a modern ge oven door! Once your oven door is removed, follow these steps to reinstall it: Web reinstalling the oven door: Find out how to clean the door panes and hinges, and what. Web learn. How To Take Out Ge Oven Door.
From cemexerf.blob.core.windows.net
How Do I Remove An Oven Door And Reinstall at Claudia Kidd blog How To Take Out Ge Oven Door Web are you grappling with the challenge of removing your ge oven door for cleaning or repairs? There might come a time when you need to remove your ge oven door, whether for cleaning, repair, or even moving. Once your oven door is removed, follow these steps to reinstall it: Web learn how to remove the oven door on a. How To Take Out Ge Oven Door.
From www.youtube.com
GE OVEN DOOR EASY REMOVAL AND REPLACEMENT YouTube How To Take Out Ge Oven Door Once your oven door is removed, follow these steps to reinstall it: Web how to quickly and easily remove and reinstall a modern ge oven door! Web are you grappling with the challenge of removing your ge oven door for cleaning or repairs? There might come a time when you need to remove your ge oven door, whether for cleaning,. How To Take Out Ge Oven Door.